
(Photo source: CnEVPost)
After its two Anhui-based subsidiaries received a 50 percent increase in registered capital, Nio's auto sales subsidiary saw a similar move.
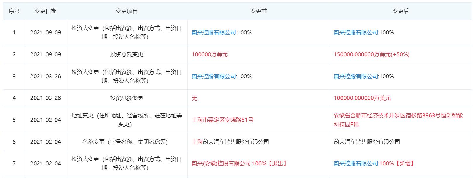
Nio Auto Sales & Service Co Ltd increased its registered capital by 50 percent from $1 billion to $1.5 billion on September 9, information from data provider Tianyancha shows.
The company, founded in March 2017, is legally represented by Nio co-founder and president Qin Lihong and is wholly owned by Nio Holdings Ltd.
Its business scope includes automobile sales and after-sales services, car leasing, used car distribution, brokerage, charging and battery swap services, and research and development of new products and high technologies.
The company was formerly known as Shanghai Nio Sales & Service Co Ltd. On February 4 of this year, its name was changed to Nio Sales & Service Co Ltd and its address was changed to Hefei, Anhui Province, where Nio China is headquartered.
This is the third subsidiary of Nio to receive an increase in registered capital in the last week.
On September 8, the registered capital of Nio (Anhui) Co Ltd was increased from RMB 6 billion to RMB 9 billion, information from Qichacha shows.
The company was founded in 2020 and its legal representative is Qin Lihong, co-founder and president of Nio.
The company's business scope includes research and development of high-tech, transfer of results and technical services, and business management consulting, and is 100% owned by Nio Holdings Ltd.
The registered capital of another company named Nio Technology (Anhui) Co Ltd was increased from RMB 2 billion to 3 billion.
The company was established on August 19, 2020 and is wholly owned by Nio Holdings. It is also legally represented by Qin.
The company's business scope includes research and development of new products and components for the automotive industry, research and development, transfer of results and technical services for high technology, and sales of automobiles and accessories, automotive supplies, household products and computer software.
It is not clear what Nio's purpose is in increasing the registered capital of these companies.

