The device not only makes the vehicle look better, but also reduces wind resistance and enhances rear wheel grip and vehicle steering performance, the patent's description document shows.
(Image credit: CnEVPost)
Nio has been granted a patent related to the electric rear wing, sparking speculation that the electric vehicle maker could launch models equipped with the device in the future.
Nio's patent application was filed on June 6 and became effective on August 30, according to information from the database of the China National Intellectual Property Administration.
The device not only makes the vehicle look better, but also reduces wind resistance, reduces energy consumption, and reduces lift at the rear of the vehicle, thus ensuring rear wheel grip and vehicle steering performance, according to the patent's description document.
During vehicle travel, the airflow pressure under the body is high while the pressure above is low, and the resulting pressure difference gives the vehicle upward lift, the description document says, adding that the faster the vehicle is going, the greater the upward lift will be.
As a type of air resistance, this upward lift is called induced drag in the vehicle engineering community, and it accounts for about 7 percent of the entire vehicle's air resistance, according to the document.
If the lift at the rear of the vehicle is greater than the lift at the head, it can easily lead to reduced rear wheel grip, excessive vehicle steering and poor driving stability.
By installing a spoiler at the rear of the vehicle, the wind can generate downward pressure on the rear of the vehicle, thereby reducing the lift at the rear of the vehicle and safeguarding the ride comfort and driving safety of the vehicle, according to the document.
The purpose of the invention is to provide a more competitive vehicle spoiler assembly that can be used to continuously, in real-time, and quickly adjust the deflection angle of the spoiler to change its aerodynamic characteristics as needed, according to the document.
This enables the vehicle to adapt to different driving conditions, improves vehicle stability at high speeds, and ensures vehicle comfort and driving safety, the document states.
The document does not reveal any information about the Nio model, but some people on social media, including Weibo, have speculated that the first Nio model with an electric rear wing could be one called the "EC7".
In the Nio model naming, ES stands for regular SUV, ET for sedan, and EC for coupe model, such as EC6 coupe SUV.
It is worth noting that Avatr Technology, previously known as Changan Nio, officially launched its first model, the Avatr 11, earlier this month, with an electric rear wing.
The Avatr 11 is a mid-size SUV with an electric rear wing that automatically raises when the speed exceeds 90 km/h and retracts when the speed drops below 60 km/h.
(Image credit: Avatr)
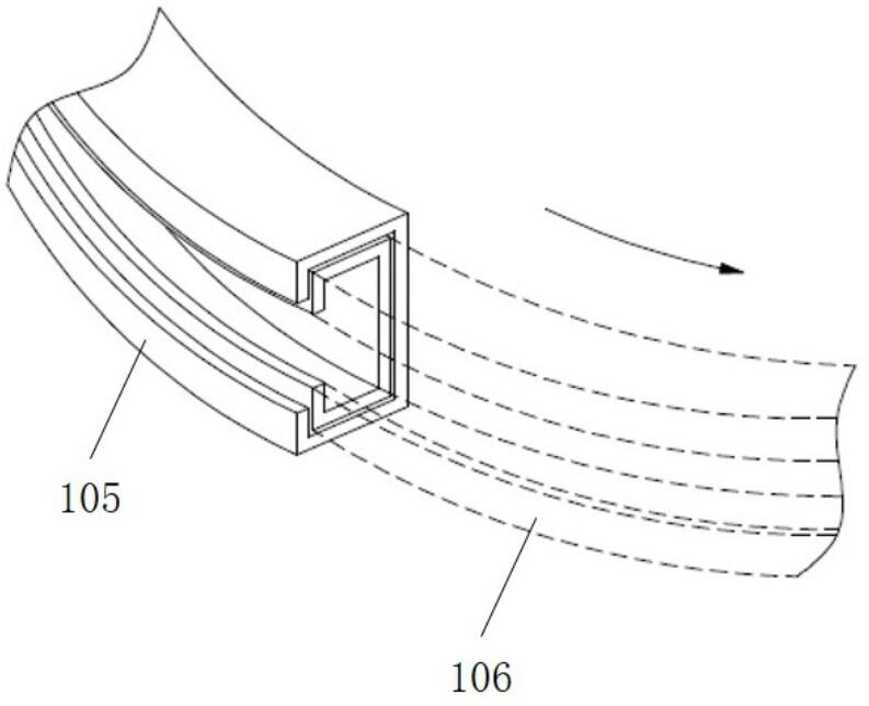
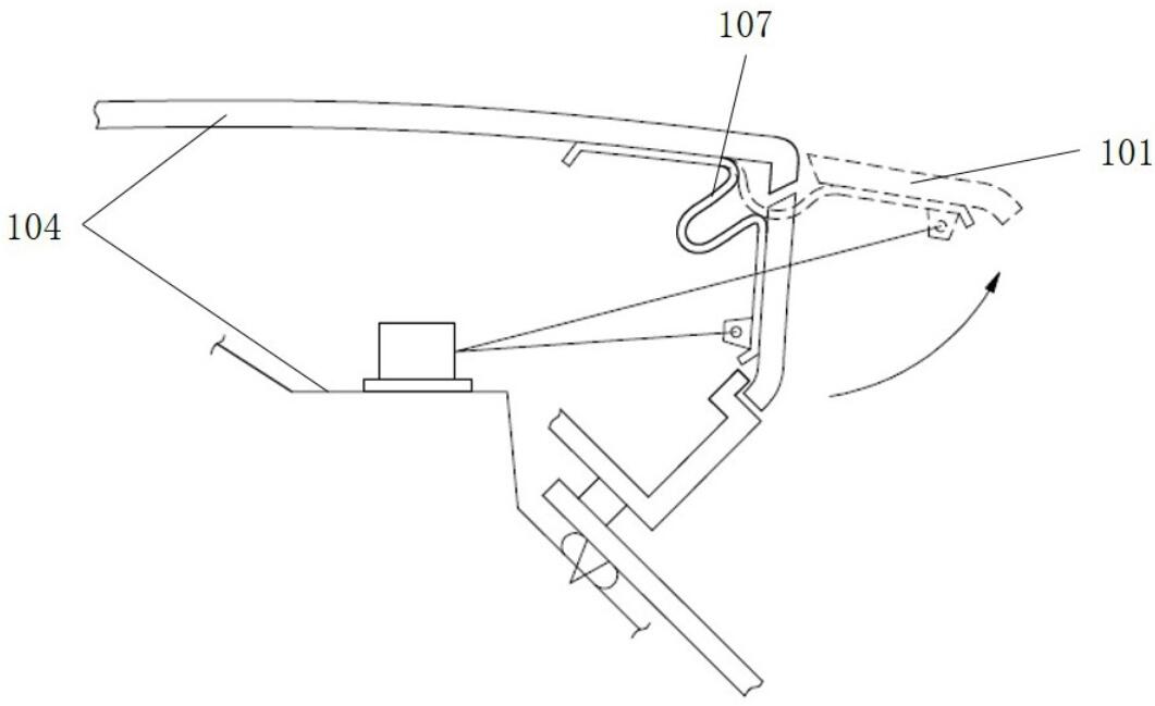
Here are images from Nio's patent.







