After Li Auto and Xpeng Motors, Nio has also applied for several Metaverse trademarks.
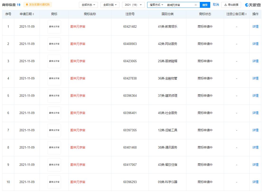
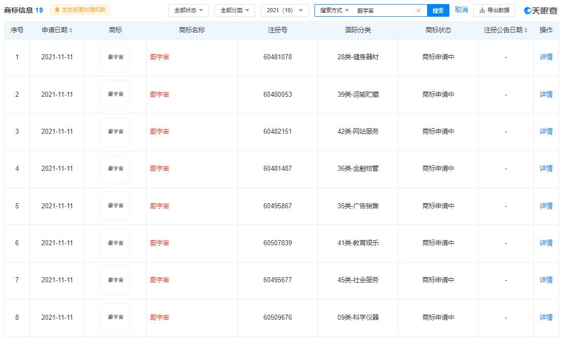
Nio has recently applied for registration of multiple trademarks of "Nio Metaverse" and "Nio Verse", which are related to the international classification of means of transportation and website services, according to the information of data provider Tianyancha.
These applications were filed on November 9 and November 11, and are currently under application.
The change of Facebook's name to Meta has brought a new focus to the hype of the metaverse concept. Possibly out of fear of missing out, companies including Xpeng Motors and Li Auto have applied for several Metaverse trademarks previously.
According to Tianyancha, Xpeng applied for three "Xpeng Metaverse" trademarks on November 1, with international classifications for machinery and equipment, scientific instruments, and means of transportation.
Li Auto filed an application for registration of the "Li Auto Metaverse" trademark on September 15.
It's worth noting that Nio's previous investments seem to show signs of a presence in the field.
Nio Capital, the venture capital arm of Nio, led a Series C round of funding for Chinese augmented reality (AR) technology company Nreal in late September.
Nio Capital managing partner Zhu Yan said at the time that he was bullish on the application of AR/VR glasses in the automotive scene, especially the new possibilities of combining in-car entertainment.
The Metaverse can be understood as an artificial virtual space running parallel to the real world, which connects the virtual with the real and provides an immersive interactive experience for users.
On the critical path to the Metaverse, AR/VR technically solves the problem of interacting the virtual world with the real world.
Facebook founder and CEO Mark Zuckerberg said in late June that the company's future plans go far beyond social media to building a Metaverse.
At the end of last month, Zuckerberg further announced that Facebook would be renamed Meta to show the company's commitment in this area.
Analysts at China's Soochow Securities said in a report at the end of June that as the infrastructure to build the Metaverse matures, we are getting closer to a new phase of the Internet.
The essence of the Metaverse remains a virtual online world, and the rapid growth of the Internet and its user base provide the prerequisites for the Metaverse to materialize, Soochow Securities said.


