Apple continues to work on its own cars, and like those patents released in the past, Apple appears to be in the midst of a radical redesign of the standard elements used in vehicle design, which could result in a very modern Apple car that is eventually released.
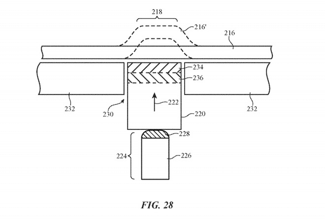
The U.S. Patent and Trademark Office on Tuesday granted Apple a patent titled "Appearance Integration of Displays" that proposes to change the way displays are displayed in cars.
Typically used for navigation systems and media playback, the current display is currently positioned fairly conspicuously in the car, but Apple suggests it could be hidden.
At the heart of this patent, Apple proposes to pair the display with an overlay that hides it as part of the overall vehicle design.
The overlay may include elements such as force and touch sensors that receive input, and electronic blinds. The cladding itself can be coated to make it appear to be made of leather, fabric, wood, plastic, metal, fibrous composites and other substances, suggesting that the idea can be applied to a variety of automotive interior designs.
Crucially, the cover can be made by using an extremely thin outer covering material, or by including perforations to let light through.
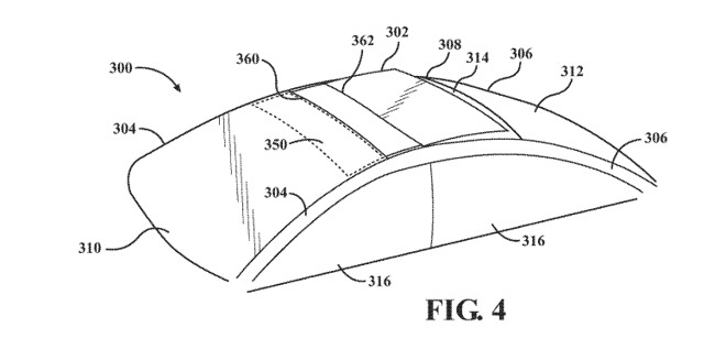
The second Apple patent "removable panel assembly" that came to light today concerns a vehicle's sunroof, and Apple offers a number of tweaks that could improve the overall design.
Among Apple's patents, the skylight has a controlled variable translucent area. The panel will be able to switch between different states of transparency depending on the movement of the panel, such as becoming more transparent when open and opaque when closed.
Sealed construction can also be used on the sliding panels to make them more securely attached to the roof when closed. When in contact, the sealed structure helps prevent rain drops from entering the car.



